2026年教育部拟同意设置14所本科高校
根据《中华人民共和国高等教育法》《普通高等学校设置暂行条例》《普通本科学校设置暂行规定》《本科层次职业学校设置标准(试行)》等有关规定,经教育部党组会议审议,拟同意设置黑龙江农业工程职业技术大学等14所学校,现予公示。
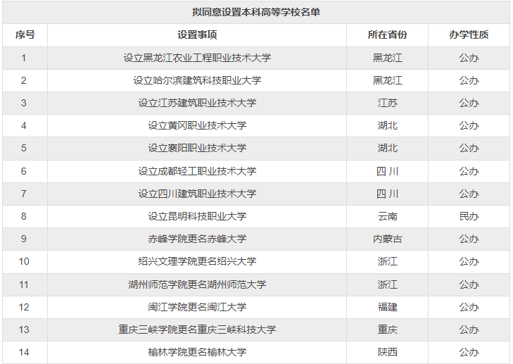
2026年教育部拟同意设置14所本科高校

拟同意设置的14所本科高等学校名单中,新设立8所本科层次职业学校,6所学院更名为大学。

根据《中华人民共和国高等教育法》《普通高等学校设置暂行条例》《普通本科学校设置暂行规定》《本科层次职业学校设置标准(试行)》等有关规定,经教育部党组会议审议,拟同意设置黑龙江农业工程职业技术大学等14所学校,现予公示。
2026年教育部拟同意设置14所本科高校

拟同意设置的14所本科高等学校名单中,新设立8所本科层次职业学校,6所学院更名为大学。

资深升学规划专家
免费咨询
资深升学规划专家
免费咨询
北京总部:北京市昌平区超前路35号北京化工大学科技园综合楼329室 咨询电话:400-678-2191
四川公司(天府):成都市青羊区西御街5号领地中心西塔18楼0405号 咨询电话:028-85655858
四川公司(成西):成都高新区天目路77号1栋1单元5楼502号 咨询电话:028-87996004
四川公司(绵阳):绵阳市涪城万达广场SOHO二单元7楼11号 咨询电话:0816-2112879
四川公司(温江):成都市温江区公平街道花都大道东段312号 咨询电话:028-82637996
四川公司(高新):成都市高新区中海国际中心E座1301 咨询电话:028-64256528
湖南公司:长沙市雨花区韶山北路391号汇财中心6楼606 咨询电话:0731-85208255
重庆公司(观音桥校区):重庆市江北区观音桥融恒时代广场 1602-1603 咨询电话:15328557311
重庆公司(沙坪坝校区):沙坪坝沙南街2号南开商业街2楼(浦发银行楼上) 联系电话:15328557311
陕西公司:西安市碑林区长安北路大话南门壹中心24层2409 咨询电话:029-88740660
湖北公司(武昌):武汉市武昌区中南路18号中勘大厦1号楼14F 咨询电话:027-87828966
湖北公司(汉口):湖北省武汉市江汉区江汉北路南国中心T1写字楼1603 027-85799766
山西公司:太原市小店区平阳路晋阳街南二巷英语周报大厦10层 咨询电话:0351-5616677
山东公司(济南):济南市历下区历山路171号历山名郡C1-302室 咨询电话:0531-68656678
山东公司(济南高新):山东省济南市历下区工业南路61-3号山钢新天地9号楼13层1312室 咨询电话:0531-88191916
山东公司(东营胜利一中校区)东营市新区烟台路毓圣花苑A区4-105二楼0546-8262668
河南公司:郑州市农业路71号中州国际1楼102室 咨询电话:15290863165,15890197429
山东公司(东营):东营区天目山路1020号四楼 咨询电话:0546-8262668
扫码关注公众号
让|优|秀|的|学|生|更|优|秀
热线:400-678-2191